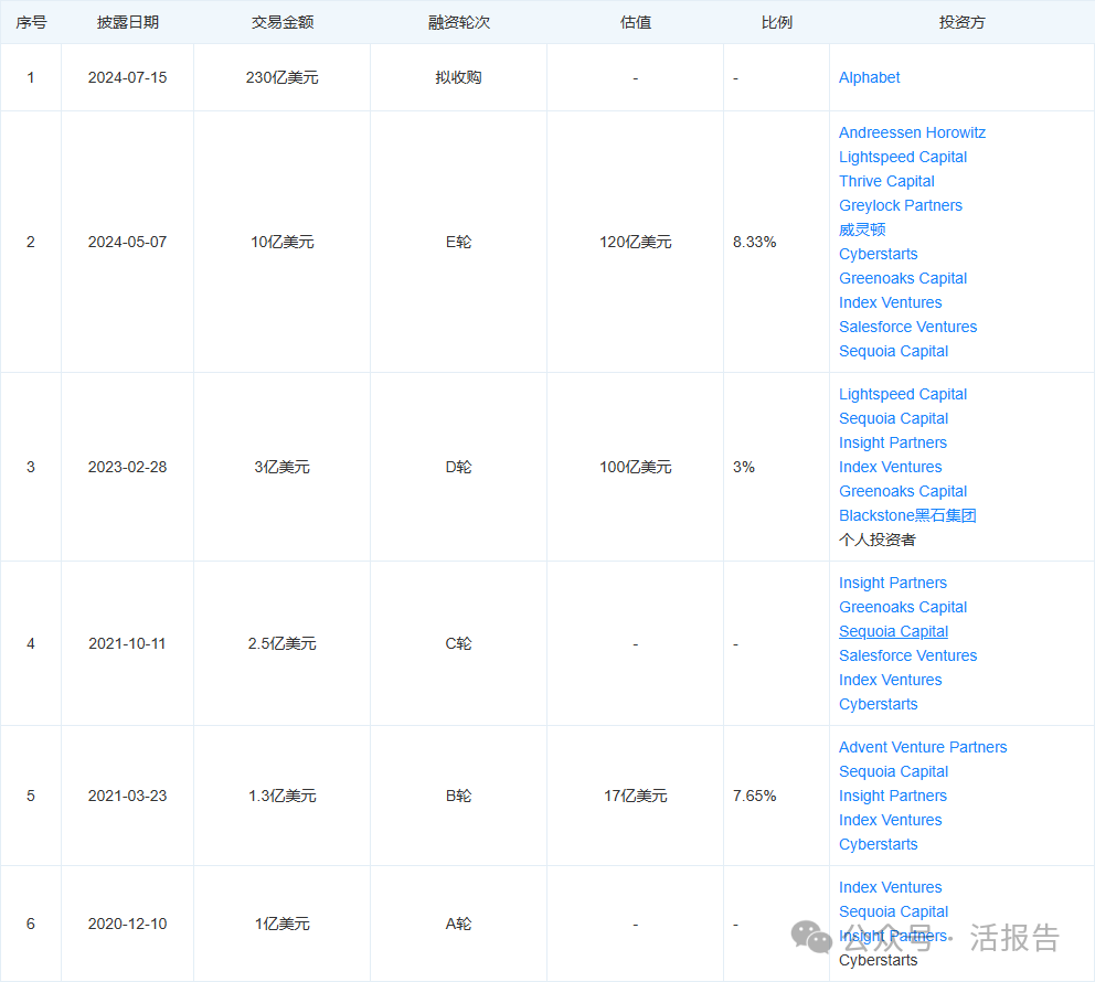
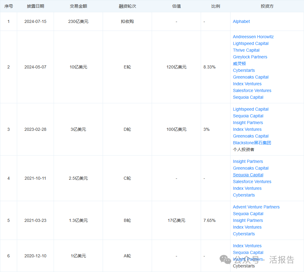
據華爾街日報7月22日報道,網絡安全初創公司Wiz放棄了與谷歌的230億美元收購交易,首席執行官Assaf Rappaport告訴員工,公司將按原計劃進行IPO。
Wiz聯合創始人Assaf Rappaport在CNBC獲得的一份致該公司全球員工群的備忘錄中表示:「對如此誘人的提議說不很難。」一位熟悉該公司想法的人士表示,反壟斷和投資者擔憂是其決定退出背後的部分動機。
Rappaport寫道,該公司將專注於下一個里程碑:首次公開募股(IPO)和10億美元的年度經常性收入,這兩個目標在今年5月份就已經存在。隨後谷歌表達了對該公司的收購興趣,不過Wiz本身並不缺乏資金。
資料顯示,Wiz是一家總部位於紐約的雲安全服務提供商,成立於2020年,主要為企業的雲服務提供安全保護。其雲原生安全產品的付費客戶在財富100強公司中佔據40%的市場份額,2023年實現了3.5億美元的年度經常性收入。

來源:Wiz公司官網
數日前媒體廣泛報道稱,谷歌母公司Alphabet(GOOG.US)提出以230億美元的交易估值收購Wiz,這是其迄今為止最大的一筆收購。
儘管谷歌很希望加強其雲計算部門,以對抗亞馬遜AWS和微軟Azure等競爭對手,但這項談判很可能遭到監管機構的阻礙。就在上周,谷歌也因反壟斷審查問題放棄了收購銷售軟件公司HubSpot(HUBS.US)。
科技領域的並購交易面臨監管壓力,這種情況在過去幾年里其實屢見不鮮。
例如,Adobe(ADBE.US)於2022年同意以200億美元收購 Figma,但隨後面臨美國、英國和歐盟的反壟斷阻力,在歷經15個月的拉扯之後仍舊認輸了;Visa(V.US)在2020年曾試圖以50億美元收購Plaid,但因美國司法部的挑戰,一年後放棄了這筆交易。
今年科技領域的退出很少見,初創公司在上市前等待更容易接受的市場,而現金充裕的公司則擔心自己無法獲得交易的監管許可。盛信律師事務所的合夥人Heidi Mayon稱,許多初創公司在權衡收購前景時都對監管問題表示擔憂。
在此之前,Wiz的最近一輪融資的估值便已達120億美元,創立四年多來,該公司已累計募集了約19億美元,投資者包括以色列風險投資家Cyberstarts、Index Ventures、Insight Partners、紅杉資本、賽富時、光速創投等。

來源:天眼查
這筆230億美元交易的失敗令Wiz的風投機構股東們感到失望,這些公司近年來籌集了數十億美元的資金,目的就是為他們的初創公司提供足夠的資金來保證成功。
PitchBook高級分析師Brendan Burke表示,規模達數十億美元的基金需要退出超過100億美元才能獲得回報,而這種情況卻十分少見。
不過,Wiz的主要競爭對手之一Crowdstrike(CRWD.US),在上周末發生的全球大範圍故障中面臨嚴重打擊,這或許會讓市場重新開始評估網絡安全公司的價值。
對於Wiz來說,拒絕一份天價收購單,謀求獨立上市,或許也是個不錯的選擇。
文章來源:活報告公眾號
財華網所刊載內容之知識產權為財華網及相關權利人專屬所有或持有。未經許可,禁止進行轉載、摘編、複製及建立鏡像等任何使用。
如有意願轉載,請發郵件至content@finet.com.hk,獲得書面確認及授權後,方可轉載。
下載財華財經APP,把握投資先機
https://www.finet.com.cn/app
更多精彩内容,請點擊:
財華網(https://www.finet.hk/)
財華智庫網(https://www.finet.com.cn)
現代電視FINTV(https://www.fintv.hk)