12月9日,香港證監會發佈公告表示,今海醫療科技(2225.HK)股權高度集中。
證監會警示,鑒於股權高度集中於數目不多之股東,即使少量股份成交,該公司之股份價格亦可能大幅波動,股東及有意投資者於買賣該公司股份時務請審慎行事。

查訊結果顯示該公司於2024年11月20日,有二十七名股東及其相關人士合共持有5.3328億股該公司股份,相當於該公司已發行股本的41.26%。有關股權連同由該公司主席兼執行董事持有的6.325億股(佔已發行股本48.94%),相當於該公司已發行股本的90.20%。因此,該公司只有1.2672億股(佔已發行股本9.80%)由其他股東持有。
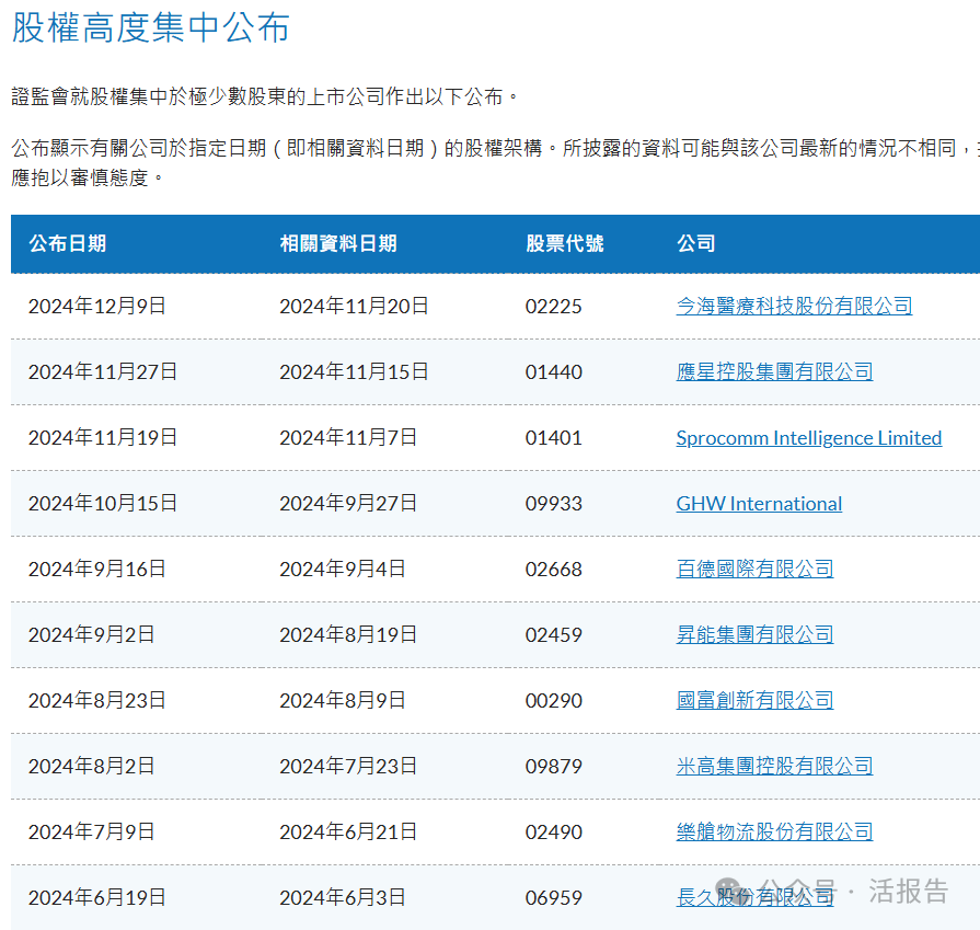
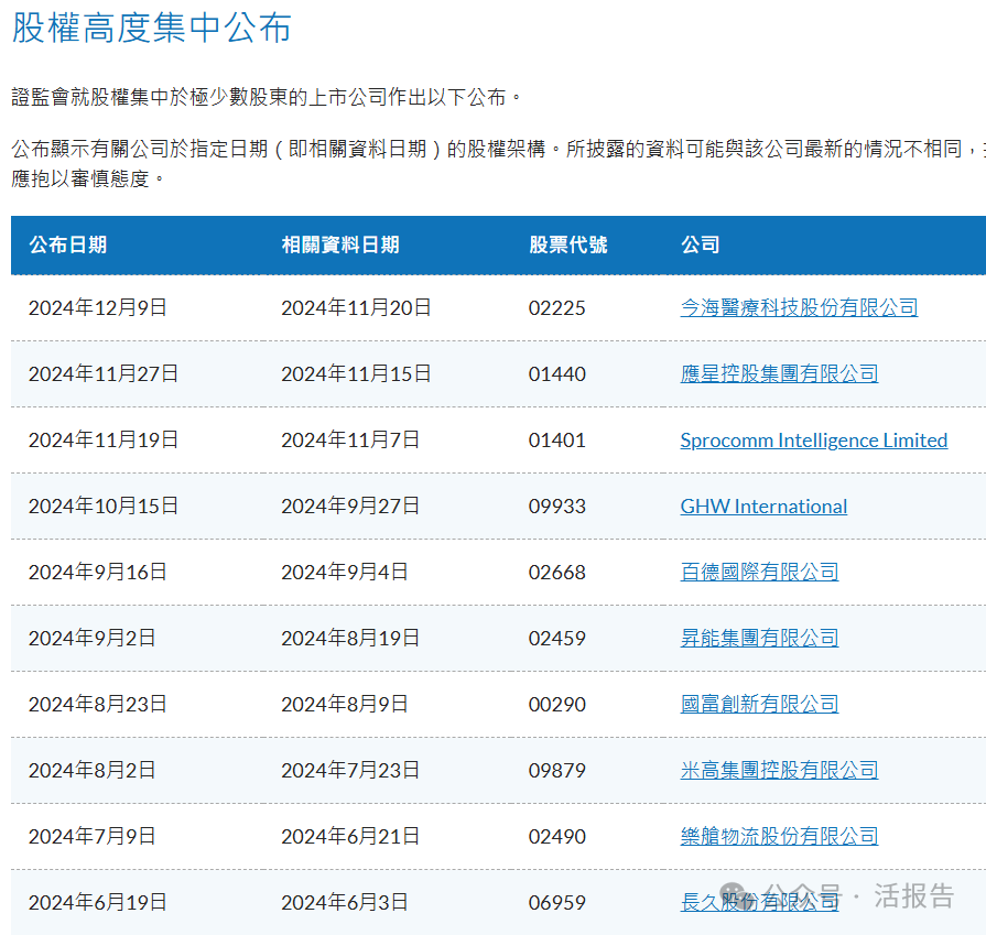
值得注意的是,今年以來證監會已經提示了10家公司股權高度集中的風險,包括長久股份、樂艙物流、米高集團、國富創新、昇能集團、百德國際、GHW、SPROCOMM INTEL、應星控股、今海醫療科技。

據香港證監會行政總裁梁鳳儀女士表示,證監會設有團隊「全天候」監察市場,未來將加強關注上市公司高度集中問題,尤其是對股價快速上升或下跌的公司。
有意思的是,這並非今海醫療科技(2225.HK)首次被證監會公開警告股權高度集中。

2021年7月26日,今海國際集團(2225.HK)就被警告過一次,但公司於2023年12月9日發佈自願公告表示解決了股權高度集中的問題。

根據恒生指數公司及港股通的納入規則,上市公司需發佈標題為「解決股權高度集中」的自願性公告,以示公司已解決股權高度集中狀況,並通過12個月的觀察期後,才能獲得重新考慮被納入相關指數的選股範疇。
這意味著,本來今海醫療科技即將於2024年12月29日滿足12個月的觀察期,但現在又再次觸犯股權高度集中的紅線,未來一年内將不會獲納入恒生指數及港股通。
據LiveReport大數據,截至2024年12月9日,公司2024年以來的平均市值為65.04億港元,已經高於恒生綜合指數及港股通的納入門檻。同時,截至12月9日,該公司年内漲幅高達266%。

文章來源:活報告公眾號
財華網所刊載內容之知識產權為財華網及相關權利人專屬所有或持有。未經許可,禁止進行轉載、摘編、複製及建立鏡像等任何使用。
如有意願轉載,請發郵件至 content@finet.com.hk,獲得書面確認及授權後,方可轉載。