2025年前2月,港股市場共有9只新股IPO,同比增長約80%;合計募資75.44億港元,同比增長約247%。整體上看,港股IPO市場活躍度正在顯著提升,以蜜雪集團為代表的熱門新股以及多只A+H龍頭標的正在悉數登場。
與此同時,美股市場有40只新股IPO,同比增長約54%;合計募資66億美元,同比增長約10%。A股市場有13只新股IPO,同比下降約35%;合計募資72.6億人民幣,同比下降約59%。

一、IPO發行趨勢
具體上,2月份港股市場僅有1只新股IPO上市,募資18.13億港元,但主要是受春節長假的影響(上年同期無新股上市)。自去年9月份以來,港股IPO募資額提升明顯,並且有望在接下來再上一層,成為全球IPO集資中心。

2月12日上市的古茗(1364.HK)募資18.13億港元,略少於佈魯可。與此同時, 3月3日登陸港股的蜜雪集團(2097.HK)募資總額達34.55億港元,發行市值超760億港元,實際已登頂年内港股新股募資榜之首。

此外,今年首只A+H股赤峰黃金(6693.HK)正在招股,預計3月10日上市,招股中間價較A股折讓近30%,募資總額約30.39億港元,發行市值約276.23億港元。國配部分2位基石(招金礦業、紫金礦業)認購了全球發售的24.52%。
等待上市的還有借殼SPAC登陸港股的找鋼集團-W(6676.HK),為繼獅騰控股之後港股市場第二家De-Spac,預計發行市值超118億港元。已通過聆訊的還有維昇藥業、派格生物,或也將陸續登陸港股市場。
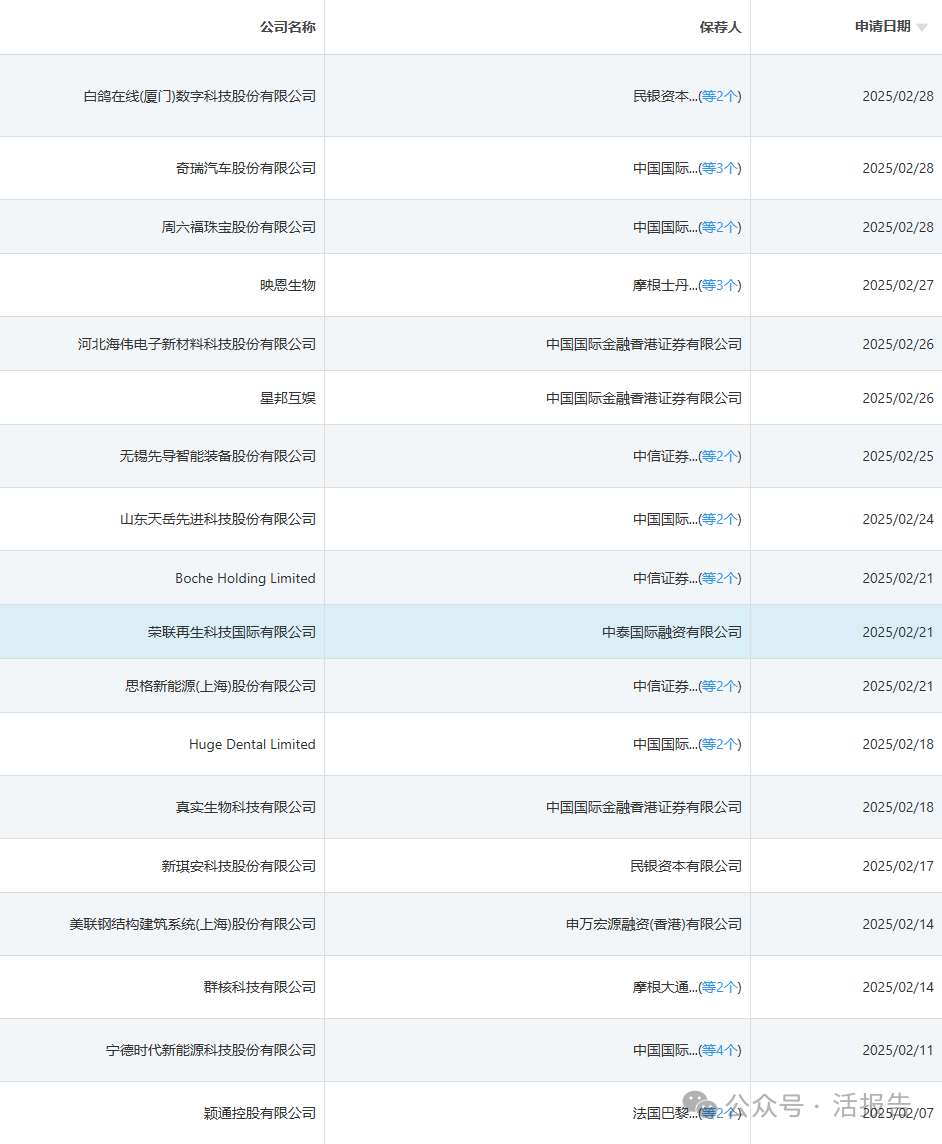
2月份共有19家公司遞表港交所,其中僅5家為再次遞表,其餘均是首次遞表。重點遞表公司包括寧德時代、天嶽先進、先導智能等A+H公司,以及奇瑞汽車、周六福、群核科技、映恩生物等。

二、認購中簽情況
從認購情況看,港股IPO市場熱度自去年下半年以來持續升溫,目前廣受市場追捧的最大熱門股當屬蜜雪集團,其火爆的認購情況點燃了市場熱情。
配售結果顯示,蜜雪集團的公開認購人數高達26.5萬人,創下近年打新人數的記錄,市場普遍認為,不少「僵屍」用戶或因此被喚醒。其公開認購倍數也高達5258倍,凍資超1.84萬億港元,登頂港股歷史「凍資王」。
此外,蜜雪集團的國配認購亦達35倍,其中5位基石投資者(紅杉中國、英卓資管、博裕資本、高瓴資本、美團龍珠)包攬了全球發售的45%。而由於公開認購火爆,回撥50%之後剩餘國配只能拿到不足5%的份額。

早一步上市的古茗,公開發售認購人數超過2.9萬人,認購倍數接近195倍,熱度也相對不錯。不過,其一手中簽率達到了100%,並不像蜜雪集團、佈魯可那樣「難搶」。值得注意的是,美團龍珠也是古茗的上市前投資者。

三、新股上市表現
從上市表現看,今年以來港股新股的首日表現呈現明顯的兩極分化,熱門票普遍表現出彩。
10只新股中有6只上漲,佈魯可、蜜雪集團首日均漲超40%;4只首日收跌,其中海螺材料科技首日跌超四成。

從實際收益看,若按「穩中一手」方式打新並以上市首日成交均價賣出,投資者的一手賬面收益(不計手續費)約為1.67萬港元,平均每只新股可獲利1670港元,其中佈魯可一手可獲利過萬港元,蜜雪集團一手賺超6700港元。

文章來源:活報告公眾號
更多精彩內容,請登陸
財華香港網 (https://www.finet.hk/)
現代電視 (http://www.fintv.com)